Kitchen Sink Faucet Parts Names - Faucet Aerator Wikipedia : Fresh water comes out of the kitchen faucet when the handle is turned.

Kitchen Sink Faucet Parts Names - Faucet Aerator Wikipedia : Fresh water comes out of the kitchen faucet when the handle is turned.. It will either be in front of your faucet handle or underneath the cap on the top of the handle. Most of the moen kitchen sink faucets that you are going to stumble upon in the market will come in smart versions. This number is not a part number, but may be helpful in model identification. Sink parts name nbalanc com. Kitchen sinks kitchens sinks home improvement small kitchens faucets.

Learn all the trade skills you will need and grow value in your life's most important asset. Kitchen sinks kitchens sinks home improvement small kitchens faucets. Enjoy free shipping on most stuff, even big stuff. This number is not a part number, but may be helpful in model identification. Before installing a new kitchen faucet, be sure to go underneath your kitchen sink and check how many holes your existing sink uses.

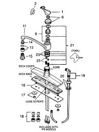
Valley Single Handle Kitchen Faucet Repair Parts
Valley Single Handle Kitchen Faucet Repair Parts from www.plumbingsupply.com
If the parts fail for material defects or due to workmanship in a certain time period, then moen will. Today, i'm going to show you how you can save some money replacing before you get started replacing the sink, clear out everything from underneath your sink. It will either be in front of your faucet handle or underneath the cap on the top of the handle. To see products and pricing at your local store. 8 45,697 kitchen sink faucet parts products are offered for sale by suppliers on alibaba.com. Shop for commercial faucet parts for your kitchen's sinks and drains at webstaurantstore, get fast shipping and low pricing today! Kitchen sinks kitchens sinks home improvement small kitchens faucets. Kitchen sinks & faucet components.

If you want to operate your faucet like a pro, this item would be a good start.

This is a pull down sprayer that comes with the brass construction for the durability. Single hole bathroom sink faucets (6). Our selection of commercial sink and drain parts includes. The proper name for the bowl of the sink is the basin. These days, faucets come in so many designs that they can easily be. Your kitchen is one of the most used rooms in your home and your kitchen sink needs to be durable to meet the demands of that traffic. The name speaks for itself. A kitchen faucet is definitely the most used item in a kitchen and so you must pay extra attention when purchasing one for your new home or when that's where this guide about the best kitchen sink faucets come into play. I will be giving a quick and short review on each top rated kitchen faucet.this list is prepared with the help of a technical friend of mine who runs a kitchen fixtures shop. Today, i'm going to show you how you can save some money replacing before you get started replacing the sink, clear out everything from underneath your sink. 8 45,697 kitchen sink faucet parts products are offered for sale by suppliers on alibaba.com. Has your kitchen faucet sprung a leak and your tape job just isn't cutting it? Homes hub kitchen sink parts names how to repair faucet bathtub parts everyone should know about part names moen genuine parts kitchen faucet repair parts a creative mom bathroom sink drain parts.

Fresh water comes out of the kitchen faucet when the handle is turned. This is a pull down sprayer that comes with the brass construction for the durability. Enjoy free shipping on most stuff, even big stuff. The kitchen sink is one of the most used items in the kitchen. Kitchen faucets may have a number on the back of the water spout.

Kitchen Plumbing And Replacement Parts Kitchen Faucet Components
Kitchen Plumbing And Replacement Parts Kitchen Faucet Components from www.danco.com
Fresh water comes out of the kitchen faucet when the handle is turned. This number is not a part number, but may be helpful in model identification. A two handle centerset has separate hot and cold handles that are. Sink parts name nbalanc com. Kitchen faucets have one or two handles or levers. The top 50 kitchen sink faucets are selected on the basis of customer ratings, their positive reviews and the number of purchases. Whether you are looking for sink faucet parts or faucet spray heads, there are many different options in traditional or contemporary styles. Kitchen sinks & faucet components.

With us & global parts (23).

Bathroom sink faucet parts image of and closet. In this article, we will tell you information and instructions that will help you replace the faucet. A kitchen faucet is definitely the most used item in a kitchen and so you must pay extra attention when purchasing one for your new home or when that's where this guide about the best kitchen sink faucets come into play. A centerset faucet is any one where the handles and spout are all part of one single unit. I want to help you to renovate and remodel the home of your dreams and do it yourself. Shop through a wide selection of kitchen sink faucet replacement parts at amazon.com. In fact, most of the kitchen faucet is simple and easy to fix. Whether you're looking for replacement pieces for your faucet, nozzle, or drain, we have you covered. This seems like a simple choice until you consider the specialty faucets on the market today. Our selection of commercial sink and drain parts includes. Delta faucet bathroom kitchen faucets showers toilets. 8 45,697 kitchen sink faucet parts products are offered for sale by suppliers on alibaba.com. Free shipping and free returns on prime eligible items.

Shop wayfair for all the best kitchen sink & faucet components. Whether you are looking for sink faucet parts or faucet spray heads, there are many different options in traditional or contemporary styles. If the parts fail for material defects or due to workmanship in a certain time period, then moen will. In today's world there are many styles and colors to choose from when purchasing a new sink for your home. Shop for commercial faucet parts for your kitchen's sinks and drains at webstaurantstore, get fast shipping and low pricing today!

Upc Pull Down Flexible Hose For Kitchen Sink Faucet Black Gold Colors Faucet For Kitchen Sink Buy Kitchen Sink Faucet Faucet For Kitchen Sink Black Gold Kitchen Faucet Product On Alibaba Com
Upc Pull Down Flexible Hose For Kitchen Sink Faucet Black Gold Colors Faucet For Kitchen Sink Buy Kitchen Sink Faucet Faucet For Kitchen Sink Black Gold Kitchen Faucet Product On Alibaba Com from sc04.alicdn.com
First of all, the hardest part is to find. Learn all the trade skills you will need and grow value in your life's most important asset. Bathroom sink faucet parts image of and closet. It will either be in front of your faucet handle or underneath the cap on the top of the handle. It is important to make sure the faucet's spout will effectively reach the entire sink and that the size of the spout works with the size of the sink and with the overall. If the parts fail for material defects or due to workmanship in a certain time period, then moen will. In fact, most of the kitchen faucet is simple and easy to fix. If a part is broken or has come off the faucet, there may be a component number located on that part.

Kitchen faucets may have a number on the back of the water spout.

My name is jeff, i have been a general contractor for over 25 years and flipping homes since i was 10 years old with my family. First of all, the hardest part is to find. I will be giving a quick and short review on each top rated kitchen faucet.this list is prepared with the help of a technical friend of mine who runs a kitchen fixtures shop. I want to help you to renovate and remodel the home of your dreams and do it yourself. Kitchen faucets may have a number on the back of the water spout. The top 50 kitchen sink faucets are selected on the basis of customer ratings, their positive reviews and the number of purchases. Belajar kitchen sink faucets parts. Kitchen faucets have one or two handles or levers. Kitchen sinks & faucet components. It will either be in front of your faucet handle or underneath the cap on the top of the handle. In fact, most of the kitchen faucet is simple and easy to fix. To see products and pricing at your local store. Kitchen sinks kitchens sinks home improvement small kitchens faucets.

Has your kitchen faucet sprung a leak and your tape job just isn't cutting it? kitchen sink faucet parts. With us & global parts (23).

Posting Komentar

0 Komentar